-
乐控反应釜空气调节型气动薄膜单座调节阀 ZJHP-16P ZJHP-16P
详细信息| 询价留言品牌:乐控 型号: ZJHP-16P 加工定制:是 材质:不锈钢 连接形式:法兰 公称通径:DN15-150 mm 适用介质:水;蒸汽;油品;各种高腐蚀化学介质;弱酸碱介质;氨气;氮气;氧气;氢气;液化气;空气;煤气 压力环境:高压 工作温度:高温 流动方向:单向 驱动方式:气动 零部件及配件:定位器 形态:柱塞式 类型:二通式 标准:国标 密封形式:硬密封式 类型:二通式 标准:国标 一、产品简介:
ZJHP-16P反应釜空气调节型气动薄膜单座调节阀流量系数大,调节精度高,操作稳定 ZJHP气动精小型单座调节阀,是具有八十年代先进水平的新型调节阀。是由多弹簧气动薄膜执行机构和顶导向式直通低流阻单座阀组成。具有结构紧凑、重量轻、动作灵敏、流体通道呈S流线型、压降损失小、阀容量大、流量特性精确,配用电-气阀门定位或气动阀门定位器,可实现对工艺管路流体介质的自动调节控制,广泛应用于精确控气体、液体、蒸汽等介质的工艺参数如压力、流量、温度、液位等参数保持在给定值。是符合IEC标准的新一代通用调节阀产品。
二、产品特点:
气动薄膜调节阀由气动薄膜多弹簧执行机构和精小型单座阀组成。具有可靠的动作性能,精确的流量特性,可调范围大,阀座泄漏量小,操作稳定,多弹簧执行机构高度低、重量轻、装备简便,精小型阀体结构紧凑、流道通畅,具有较大的流量系数。适用于对泄露量要求严格、阀前后压差低及有一定粘度和含少量纤维介质的场合。
气动比例调节阀按照开关方式的不同可分为气关式和气开式两种:1、气关式阀由正作用执行机构和阀构成。当输入信号压力由下限值改变为上限值时,阀从全开到全关。
2、气开式阀由反作用执行机构和阀组成,当输入信号压力由下限值改变为上限值时,阀从全关到全开。
三、产品应用:
ZJHP-16P反应釜空气调节型气动薄膜单座调节阀形小、体轻、精确、高效,是符合IEC标准的新一代调节阀产品。它适用于化工、石油、冶金、电站等各工业部门的一般流体介质和工艺条件的生产过程控制系统。 本产品由新型的气动多弹簧薄膜执行机构和低流阻套筒阀组成,特点如下: 1、采用平衡型阀芯,不平衡力小,允许压差大,操作稳定。 2、阀芯导向面大,可改善有涡流和冲击引起的震荡,并减少损坏。 3、比普通双座调节阀噪声降低10dB左右。 4、结构简单,装拆维修方便。
四、产品主要部件及材质:
◇ 阀体、阀盖:HT200,ZG230-450,ZG1Cr18Ni9Ti
◇ 阀芯、阀座:1Cr18Ni9Ti,司太莱合金堆焊
◇ 软密封阀芯:增强聚四氟乙烯
◇ 填料:聚四氟乙烯,柔性石墨
◇ 波纹管:1Cr18Ni9Ti
◇ 垫片:橡胶石棉板、10、1Cr18Ni9Ti、石棉缠绕垫片
◇ 膜盖:A3
◇ 波纹膜片:橡胶夹增强涤纶织物
◇ 弹簧:60SIMN
◇ 阀杆、推杆:2Cr13、1Cr18Ni9Ti
◇ 衬套:2Cr13
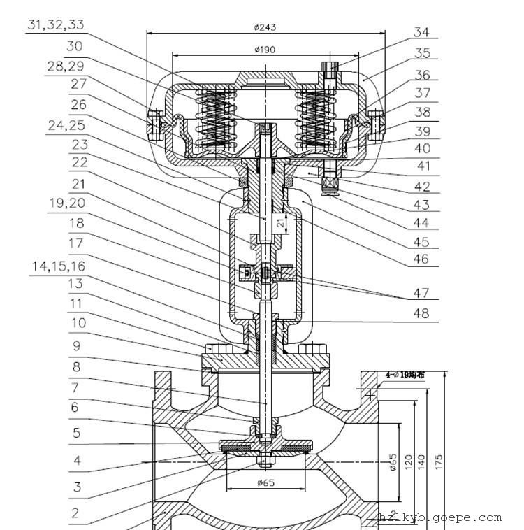
五、产品结构透析:
比例蒸汽调节阀阀内结构为(平衡笼式)是一种压力平衡式的调节阀,阀体流体通道呈S流线型,还没有一个改善套筒周围液体平稳流动的导流翼,优点是压缩损失小,流量大、可调范围广,流量特性曲线精度高,动态稳定性好,噪音低,空化腐蚀小。调节阀配用多弹簧式薄膜执行机构,结构紧凑,输出力大。适宜控制高温,低温的高压差流体。
1.型号
10.是否禁油、禁铜等特殊规格
2.公称通径×阀座直径(或Cv 值)
11.介质名称、状态(液、气、蒸气等)
3.流量特性
12.配管尺寸、管壁厚(入口侧、出口侧)
4.公称压力及法兰连接型式
13.正常流量及大、小流量
5.阀体和阀内组件材料,表面硬化处理要求
14.介质的温度、比重或密度
6.上阀盖型式
15.介质压力、大流量和小流量时的进口压力和出口压力
7.执行机构型号,是否配手轮及供气压力
16.介质比重粘度,有无浆料、闪蒸
8.阀作用型式(正作用、反作用)
17.是否用于高温、防爆等工作条件
9.附件(是否要带定位器、手轮、减压阀等)
六、产品配套附件(电气阀门定位器):电气阀门定位器是工业自动化中比例蒸汽调节阀的主要配套仪表,可用来提高阀门位置的线性度、克服阀杆的磨擦力和消除调节阀不平衡力的影响等,从而保证阀门位置按控制系统或调节仪表传来的0~10mA DC或4-20mA的电流信号成比例关系,实现正确定位。(有多种型号规格可选配)本公司电-气阀门定位器配用型(HEP-15隔爆型,HEP-17本安型)。也可按不同需求配用(ZPD2000系列、EP3000系列、EP4000系列、YT1000系列、YT2000系列、SIPART PS2西门子系列及智能定位器系列产品) 。
八、产品使用气动蒸汽调节阀减温减压装置中安装示意图:
九、气动调节阀与电动调节阀的产品区别:
1、气动调节阀气动执行机构的主要优点:
接受连续的气信号,输出直线位移(加电/气转换装置后,也可以接受连续的电信号),有的配上摇臂后,可输出角位移。有正、反作用功能。移动速度大,但负载增加时速度会变慢。输出力与操作压力有关。可靠性高,但气源中断后阀门不能保持(加保位阀后可以保持)。不便实现分段控制和程序控制。检修维护简单,对环境的适应性好。输出功率较大。具有防爆功能。
2、电动调节阀优点:
阀门电动执行机构主要应用于动力厂或核动力厂,因为在高压水系统需要一个平滑、稳定和缓慢的过程。电动执行机构的主要优点就是高度的稳定和用户可应用的恒定的推力,大执行器产生的推力可高达 225000kgf,能达到这么大推力的只有液动执行器,但液动执行器造价要比电动高很多。电动执行器的抗偏离能力是很好的,输出的推力或力矩基本上是恒定的,可以很好的克服介质的不平衡力,达到对工艺参数的准确控制,所以控制精度比气动执行器要高。如果配用伺服放大器,可以很容易地实现正反作用的互换,也可以轻松设定断信号阀位状态(保持/全开/全关),而故障时,一定停留在原位,这是气动执行器所作不到,气动执行器必须借助于一套组合保护系统来实现保位。
十、调节阀常见故障及维修:
1、故障性维修
调节阀是实现装置自动控制的重要手段,可随时根据工艺控制要求进行调节,运行的状况取决于调节阀及附件的完好情况,任何一个部件的故障都会影响到调节阀的调节性能。传统的调节阀配置常规电气阀门定位器和其他附件,在调节阀投用前,进行包括单校、带定位器调校及压力、泄漏测试等检查,检查合格后投运。如果运行正常之后,不做维修处理,只有在调节阀出现故障时才做出流程处理。这种故障维护是一种传统被动性维修,也是目前主要采取的维修方式。
2、预防性维修
调节阀预防性维修是根据调节阀的运行时间、重要程度有计划地安排各类检查及维修,通过预防性维修可以对调节阀存在的各种隐患提前进行处理,避免各种隐患发展成突发故障,导致调节阀失灵,直接影响生产。该维修方式可提前发现问题并及时处理,但它需要将调节阀切出流程进行,需要仪表、工艺人员统一认识,落实措施,才能有效完成,存在针对性较低、经济性差等问题。
3、预知性维修
调节阀预知性维修是一种基于调节阀状态检测技术的维修方式,维修前通过对调节阀的状态检测,找出调节阀存在的问题及隐患,有针对性的进行维护,提高调节阀维修的针对性和经济性。
-
联系方式
- 联系人:李经理
- 电 话:0571-63367792
- 手 机:18368180347
- 传 真:0571-63367792
- 邮 箱:hzlkyb@126.com
- 邮 编:314000
- 地 址:杭州富阳富春工业园区
- 网 址: https://hzlkyb.cn.goepe.com/
http://www.hzlkyb.cn






